
Volcanic Lava stones, Lanzarote.
Other stones, Lanzarote.
Lowfield Heath mill, Charlwood, Surrey.
Mechanics Magazine, no. 1088, June 15, 1844
CORCORAN'S PATENT IMPROVEMENTS IN THE GRINDING OF WHEAT AND OTHER SUBSTANCES.
[Patentee, Mr. Bryan Corcoran, of Mark-lane. Patent dated, Aug. 25, 1843; Specification enrolled, February 24, 1844.]
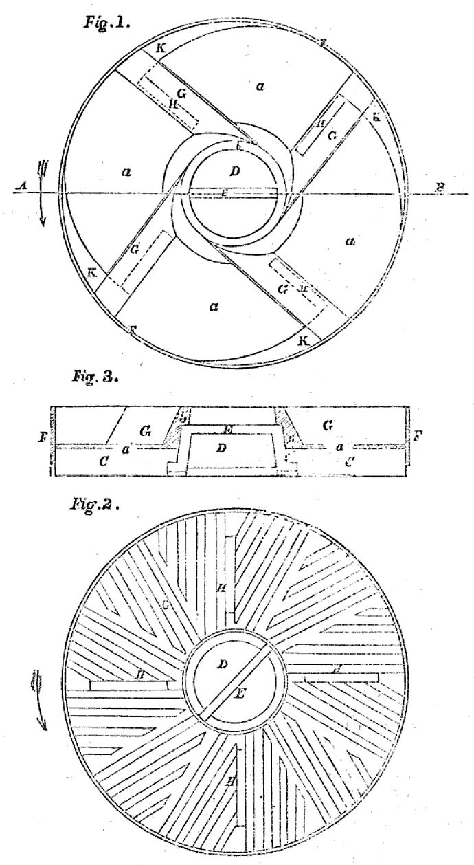
The object effected by the improvements which form the subject of this patent, and which are stated to have been communicated to Mr. Corcoran by a foreign correspondent, is the admission of air between the grinding surfaces of the two stones ordinarily employed in flour mills, whereby both the material to be ground, and the faces of the stones themselves may be kept constantly cool. the mode in which this desirable object is accomplished is very ingenious, and will be readily understood from an inspection of the accompanying engravings, and a very few words of explanation.
Fig. 1 is a top view of the upper of a pair of millstones; fig. 2 is an under view thereof; and fig. 3 a vertical section on the line A B of fig. 1. C is the millstone, D the eyehole, and E the cross. F is an iron case, which encircles the millstone, and rises above it to the height shown in the vertical section, fig. 3: it is open at top, but has a solid bottom, a, which rests on the top of the millstone, and a collar, b, by which it is attached to the cross E, so that it may revolve along with the stone. G G G G are four radial vanes, which extend from the collar b to the inner circumference of the upper part of the case, and are inclined forwards in the direction in which the millstone revolves. H H H H are four openings made through the bottom, a, of the case and the stone beneath, immediately before the vanes G G G G, for the admission of the air between the grinding surfaces. As the stone and case revolve, the air is driven down through these apertures by the resistance it meets with from the vanes. KKKK are guide plates, for the purpose of directing or inclining the air into the openings H H H H. The inventor declares that he does not restrict himself to any number of vanes or openings in the stones and case, nor to any particular shape to be given to the same; but that these may, consistently with the principle of his invention, be of any convenient number or form.
| Last updated 13/02/2026 | Text and images © Mark Berry, 1997-2026 - |